快訊

    創新高!貓奴本命車牌「CAT8888」57.6萬決標 前5名都破20萬

    2025-11-12 15:57 / 作者 林佳鋒
    「貓奴身分證」車牌「CAT」11月10日開標,12日決標,金額最高的是CAT-8888,以57.6萬元賣出。翻攝交通部臉書
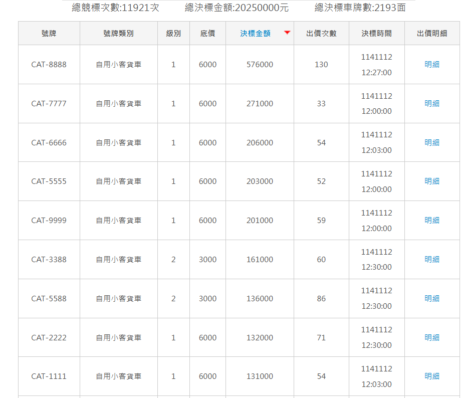
    被譽為「貓奴身分證」的夢幻車牌號碼「CAT」前天開標,今天(11/12)中午決標,本次競標共1萬1921次,總決標車牌2193面,總決標金額2025萬,其中「CAT-8888」自用小客貨車車牌競標踴躍,搶標者出價130次,最後以57萬6000元決標,創基隆監理站競標金額最高紀錄。

    基隆監理站表示,決標金額前5名分別為:「CAT-8888」(發發發發)自用小客貨車黃金熱門車牌6000起標,結標金額57.6萬元;「CAT-7777」(Lucky Seven),經過33次搶標,以27.1萬元決標;「CAT-6666」(66大順)經過54次出價,結標金額20.6萬。

    另外,「CAT-5555」車牌以20.3萬元決標,出價次數52次,「CAT-9999」以20.1萬元決標,出價59次。前5名的決標金額都超過20萬元;另外,「CAT-3388」也以16.1萬元高價賣出。

    基隆監理站指出,這次CAT車牌共有6560面,標出2193面,總計標價2025萬,一次標出車牌數量創基隆監理站最高紀錄,CAT-8888決標金額57.6萬也是基隆監理站8888車牌標價最高紀錄。先前的紀錄則是由「BXB」車牌創下,當時標出800多面,「BXB-8888」以30萬決標。

    另外,尾數8或9等號碼也相當受歡迎,「CAT-5588」結標金額13.6萬元,「CAT-6688」8.1萬元、「CAT-7788」則是4.9萬元。

    特殊車牌部分,「CAT-5168」(我一路發)結標金額8.2萬元,「CAT-0857」(恁爸有錢)結標金額6.7萬元,「CAT-5888」(我發發發)6.1萬元,就算是「CAT-0001」決標金額也有6.1萬元。

    基隆監理站提醒,得標車主須在明天(11/13)中午12時前完成轉帳繳費,才能到基隆監理站領車牌。並自決標日起3個月內才能領牌。另外,根據規定,車牌競標金額超過30萬元,要先繳納6萬元保證金,才能參加競標。若得標者未依規定於期限內完成繳費,則沒收該保證金,並禁止參與公路監理機關車牌競標及選號資格1年。

    此外,未得標或得標已繳交全部得標金額者(保證金不得扣抵決標金額),則自決標次日起10個工作日由招標機關無息退還保證金。

    貓奴夢幻車牌決標,其中CAT-8888金額最高,為57.6萬元。翻攝監理服務網

    林佳鋒 收藏文章

    本網站使用Cookie以便為您提供更優質的使用體驗,若您點擊下方“同意”或繼續瀏覽本網站,即表示您同意我們的Cookie政策,欲瞭解更多資訊請見